Nissan Qashqai 2024 Manuel utilisateur
6.4.2. Fonctionnement du système MOD (modèles avec vue en 3D)
Le système MOD s'active automatiquement dans les conditions suivantes :
Lorsque la boîte de vitesses est sur la position R (marche arrière).
Quand vous poussez la commande <CAMERA> pour afficher l'Intelligent Around View Monitor (Nissan AVM - Vision intelligente à 360°) (IAVM) sur l'écran.
Lorsque la vitesse du véhicule est inférieure à environ 8 km/h (5 MPH).
Le système MOD fonctionne dans les conditions suivantes lorsque la vue de la caméra est affichée :
Lorsque la boîte de vitesses est placée sur la position P (stationnement) ou N (point mort) et que le véhicule est à l'arrêt, le système MOD détecte les objets en mouvement en vue à vol d'oiseau. Le système MOD ne fonctionne pas si une des portières est ouverte. Le système MOD risque de ne pas fonctionner correctement si les rétroviseurs extérieurs sont rabattus.
Lorsque la boîte de vitesses est en position de marche avant et que la vitesse du véhicule est inférieure à 8 km/h (5 MPH) environ, le système MOD détecte les objets en mouvement en vue avant, en vue avant élargie ou en vue capot invisible.
Lorsque la boîte de vitesses est placée sur la position R (marche arrière) et que la vitesse du véhicule est inférieure à environ 8 km/h (5 MPH), le système MOD détecte les objets en mouvement en vue arrière ou en vue arrière élargie. Le système MOD ne fonctionne pas si le hayon est ouvert.
Le système MOD ne détecte pas les objets en mouvement en vue latérale avant et en vue en 3D. L'icône MOD n'apparaît pas sur l'écran lorsque cette vue est affichée.
Lorsque le système MOD détecte un objet en mouvement à proximité du véhicule, le cadre orange s'affiche sur la vue sur laquelle l'objet est détecté et un témoin sonore retentit une fois. Tant que le système MOD détecte des objets en mouvement, le cadre orange reste affiché.

Tant que le témoin sonore du système RCTA (selon modèles) émet des bips, le système MOD ne déclenche pas de signal sonore.







Sur la vue à vol d'oiseau, le cadre orange (1) s'affiche sur chaque image de la caméra (avant, arrière, droite, gauche), en fonction de l'emplacement où les objets en mouvement sont détectés.
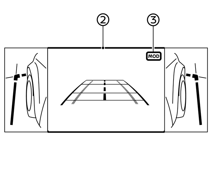
Le cadre orange (2) est affiché sur la vue avant, la vue arrière, la vue avant élargie, la vue capot invisible et la vue arrière élargie.
Une icône MOD verte (3) s'affiche sur la vue lorsque le système MOD est opérationnel. Une icône MOD grise (3) s'affiche sur la vue où le système MOD n'est pas opérationnel.
Si le système MOD est désactivé, l'icône MOD (3) ne s'affiche pas.